
产品说明:
渣浆泵结构:L型轻型渣浆泵为悬臂、卧式双壳轴向吸入离心渣浆泵。泵的吐出口位置可根据需要按45℃间隔,旋转八个不同的角度安装使用。
渣浆泵材质:L型轻型渣浆泵的泵体具有可更换的耐磨金属内衬,叶轮、护套、护板等过流部件均采用耐磨金属。
渣浆泵使用:与重型渣浆泵相比,该泵转速高,体积小,重量轻,适用于输送细颗粒,低浓度的渣浆或腐蚀性渣浆。输送浆体的重量浓度一般不超过30%,亦可用于输送高浓度低磨蚀性渣浆。
密封 形式:L型泵的轴封可采用填料密封、副叶轮密封、填料加副叶轮密封、机械密封等型式。
传动 型式:DC直联传动,CR平行皮带传动,ZVZ上下皮带传动,CV立式皮带传动等型式。
产品参数:
| 型号 | 配带功率P(KW) | 流量Q(m³/h) | 扬程H(m) | 转速n(r/min) | 最高效率η% | 汽蚀余量NPSH(m) | 叶轮直径D(mm) | 重量(kw) |
| 20A-L | 0.75-7.5 | 1.8-9 | 7-35.5 | 1400-3000 | 40 | 2.5-3 | 152 | 46 |
| 50B-L | 2.2-15 | 11.5-65 | 8.5-46 | 1400-2800 | 62 | 2.5-5.5 | 190 | 90 |
| 50B-LR | 2.2-15 | 9-61 | 3-35 | 1200-2600 | 48 | 2.75-4.5 | 190 | 76 |
| 75C-L | 3-30 | 21.6-136.8 | 7-47 | 900-2400 | 57 | 3-6 | 229 | 200 |
| 75C-LR | 3-30 | 28-155 | 8-43 | 1100-2300 | 60 | 3-5 | 229 | 170 |
| 100D-L | 5.5-60 | 46.8-324 | 7-48 | 800-1600 | 65 | 2.5-5.5 | 305 | 370 |
| 100D-LR | 5.5-60 | 54-288 | 12-38 | 800-1500 | 65 | 2.5-6 | 305 | 320 |
| 150E-L | 15-120 | 126-568 | 10-51 | 800-1500 | 60 | 2.5-6 | 381 | 750 |
| 150E-LR | 15-120 | 72-576 | 4-38 | 800-1300 | 65 | 2.5-5.5 | 381 | |
| 300S-L | 45-560 | 568-2538 | 8-60 | 400-950 | 78 | 3-10 | 653 | |
| 300S-LR | 45-560 | 432-1900 | 7-41 | 400-800 | 81 | 3-8 | 653 | |
| 350S-L | 55-560 | 650-2800 | 10-59 | 400-840 | 81 | 3-10 | 736 | |
| 350S-LR | 55-560 | 720-2844 | 10-41 | 400-700 | 86 | 3-7 | 736 |
|
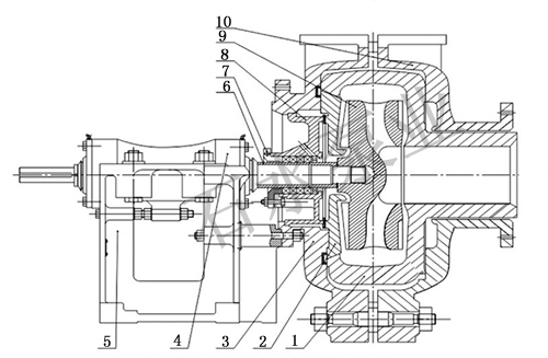
1、渣浆泵护套 |
| 2、渣浆泵后护板 | |
| 3、渣浆泵泵体 | |
| 4、轴承组件 | |
| 5、渣浆泵托架 | |
| 6、密封组件 | |
| 7、减压盖 | |
| 8、付叶轮 | |
| 9、渣浆泵叶轮 | |
| 10、泵盖 |
采购:L型渣浆泵_开式叶轮渣浆泵